1
/
of
1
Electronic Service Manuals
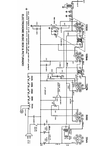
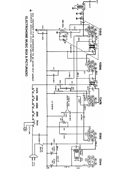
ELECTROHOME Music Box and Picturadio Schematics
ELECTROHOME Music Box and Picturadio Schematics
Regular price
$3.00 USD
Regular price
Sale price
$3.00 USD
Taxes included.
Quantity
Couldn't load pickup availability
ELECTROHOME Music Box and Picturadio Schematics
(PDF DOWNLOAD)
Share
